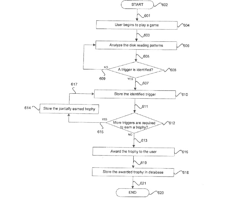
Sony are experimenting with new techniques to add trophy support to games lacking the feature, according to a new patent filing. The new technique could allow Sony to add trophy support to legacy games, without modifying the game code, but instead by detecting disk access to parts of the game.
The images below show the flow that Games could use to detect if the user has earned a trophy. The patent could mean Sony adding trophy support to PSOne and PS2 titles by means of a patch, instead of modifying the game code itself.



